We all know that Apple has doubled down its effort on developing a new AR headset. Today, we have spotted a new patent (US 2026/0056578 A1) on the United States Patent and Trademark Office (USPTO), which gives us a glimpse of a new antenna design that is built directly into the structure of a head-mounted device.

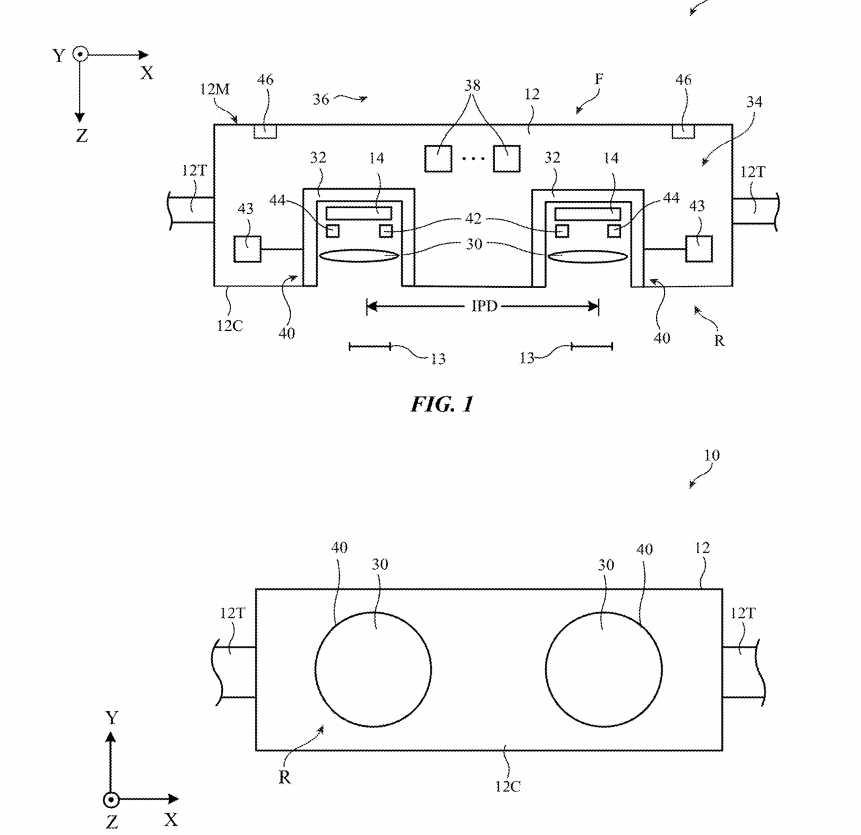
According to the patent, Apple is working on a head-mounted device that includes displays, cameras, sensors, and communication circuitry. The key highlight is a special antenna system that is integrated into the frame and support structures of the device.
This design allows the headset to maintain strong wireless connectivity for features like Wi-Fi, Bluetooth, and cellular communication.

The patent explains that traditional antenna placement can face signal interference due to metal components, cameras, and other hardware inside the headset. Apple’s solution is to place antennas in specific positions within the frame and camera housing to improve signal strength and reliability.
This patent could be related to Apple’s future AR glasses that are expected to launch in the coming years. Recent reports suggest Apple is working on true augmented reality glasses with built-in displays, which could arrive around 2028.
Apple is also reportedly working on a new AI device, possibly smart glasses. These glasses may include cameras and use voice commands to work, but they might not have a display. In addition, Apple is said to be developing an AI pin and a version of AirPods that come with built-in cameras.
While this patent gives an idea of what Apple’s future AR glasses could look like, it’s important not to expect too much. This is only a patent, and Apple has not confirmed that it will launch such a product. Many patents never turn into real devices. Companies often file them to protect early ideas or test concepts, not necessarily to release them anytime soon.
